ΣΥΣΤΗΜΑ ΔΙΕΥΘΥΝΣΗΣ PART IIΙ
Γιατί δεν φτάνουν τα μπράτσα μας?
Τι στο διάολο κάνουμε στα γυμναστήρια τόσα χρόνια και έχουμε τρελαθεί στις κρεατίνες και τα αναβολικά αν δεν μπορούμε μόνοι μας να γυρίσουμε το τιμόνι και χρειαζόμαστε βοήθεια από κάποιου είδους μηχανή για να γυρίσει το ρημάδι?! Και γιατί, ενώ σχεδόν όλα τα σύγχρονα αυτοκίνητα έχουν κάποιο σύστημα υποβοήθησης τιμονιού εγκατεστημένο, παλιότερα πολλά (ή και σήμερα ακόμα κάποια σπαρτιάτικα σπορ μοντέλα) την έβγαζαν καθαρή χωρίς τέτοια ανάγκη? Οι λόγοι είναι διάφοροι, με πιο σημαντικό αυτόν της σταδιακής αύξησης του βάρους των οχημάτων: περισσότερη μάζα στον εμπρός κατευθυντήριο άξονα σημαίνει περισσότερη κάθετη δύναμη στο πέλμα, που σημαίνει μεγαλύτερες τριβές κατά την ολίσθηση αυτού στο οδόστρωμα. Και το βάρος μπροστά σταδιακά αυξήθηκε, όχι μόνο λόγω αυξημένου εξοπλισμού / ενίσχυσης αμαξώματος, αλλά και επειδή τις τελευταίες δεκαετίας αυξήθηκε (δυστυχώς!) δραματικά και η αναλογία προσθιοκίνητων / πισωκίνητων, οπότε κατά μέσο όρο άλλαξε και η κατανομή βάρους μεταξύ των δύο αξόνων. Ένας δεύτερος, σημαντικός, παράγοντας ο οποίος, χωρίς υποβοήθηση τιμονιού, θα μας έβγαζε το λάδι κρεμασμένους από το βολάν, είναι η γενικότερη αλλαγή των χαρακτηριστικών των τροχών που έλαβε χώρα σταδιακά και αυτή: αφενός, οι τροχοί μεγάλωσαν σε φάρδος (κάτι που αυξάνει περαιτέρω τις τριβές με το οδόστρωμα) και σε διάμετρο-μάζα (αύξηση της ροπής αδράνειας κατά την περιστροφή τους), ενώ αφετέρου υπάρχει και μία τάση προς στησίματα ευθυγράμμισης που αυξάνουν την αντίσταση περιστροφής και κίνησης του τροχού μέσω εντονότερων αρνητικών offset, που είδαμε και αναλυτικότερα τον προηγούμενο μήνα. Όλα αυτά λοιπόν, συνετέλεσαν σε ένα κοινό αποτέλεσμα: κατά τους ελιγμούς παρκαρίσματος να χρειαζόμαστε τον Κουταλιάνο να βάλει ένα χεράκι. Με εξαίρεση κάποια (ελαφριά) supercars / sportscars που από την μία, λόγω βάρους, δεν είναι και μεγάλο το ζόρι στο τιμόνι και από την άλλη δεν θέλουν, για λόγους αγνότητας / αίσθησης / αύξησης βάρους, να παρεμβάλουν ολόκληρο σύστημα υποβοήθησης, οι υπόλοιποι μεγάλοι κατασκευαστές είχαν μία επιλογή μόνο, να συμπεριλάβουν στον βασικό εξοπλισμό των αυτοκινήτων τους κάποια διάταξη υποβοήθησης.
Tρεις είναι οι βασικές κατηγορίες του είδους που υπάρχουν σήμερα, με τάση τα τελευταία 5-10 χρόνια προς μία συγκεκριμένη (ω ναι, και πάλι όπως θα δούμε παρακάτω δείχνει πως νικάει η ηλεκτρονική...) και με δεδομένα «υπέρ» και «κατά» στην καθεμία. Παράγοντες όπως το κόστος κατασκευής, το κόστος επισκευής, οι ενεργειακές απώλειες (βλ. εκπομπές ρύπων) κατά την λειτουργία τους και η πληροφόρηση / αίσθηση που μεταδίδουν στον οδηγό από τους τροχούς στο τιμόνι, είναι αυτοί που χαρακτηρίζουν την κάθε κατηγορία και την καθιστούν περισσότερο ή λιγότερο κατάλληλη ανά εκάστοτε εφαρμογή. Για πάμε, για πάμε...
Η δύναμη της υδραυλικής
Η υδραυλική υποβοήθηση, η μέθοδος δηλαδή που επιτυγχάνει τον πολλαπλασιασμό της δύναμης που ασκούμε στο τιμόνι μέχρι αυτή να φτάσει στο τροχό μέσω των γνωστών αρχών / ιδιοτήτων της υδραυλικής των υγρών και της μετάδοσης της πίεσης τους (αρχή του Πασκάλ), είναι αρκετά παλιά ιδέα (δεκαετία του ’20), αλλά όντας σούπερ πολύπλοκη (κάτι που ισχύει ακόμα) και ακριβή στην εφαρμογή της (κάτι που σήμερα που κατασκευάζονται εκατομμύρια υδραυλικά τιμόνια το χρόνο έχει εξασθενίσει), έπρεπε (για άλλη μια φορά όπως τόσες και τόσες εφευρέσεις) να έρθει ο Β’ Παγκόσμιος Πόλεμος και οι ανάγκες για στρίψιμο χωρίς ιδρώτα των θεόβαρων στρατιωτικών οχημάτων που εξελίχθηκαν κατά την διάρκεια του. Φτάνουμε λοιπόν στο 1951 και την Chrysler Imperial, που ήταν το πρώτο αυτοκίνητο παραγωγής με τέτοιο σύστημα. Η τεχνολογία άρχισε σιγά σιγά να περνάει σε όλο και ευρύτερο φάσμα κατηγοριών, αρχικά μόνο στις φουλ εξτρά εκδόσεις και από την δεκαετία του ’90 και μετά να καθιερώνεται ακόμα και στις βασικές εκδόσεις των μικρών / φτηνών κατηγοριών.
Ας πιάσουμε αναλυτικά τώρα τα επιμέρους κομμάτια μίας διάταξης υδραυλικού τιμονιού, η οποία, ενώ με μία πρώτη ματιά μπορεί να φαίνεται απλοϊκή σε αριθμό επιμέρους εξαρτημάτων, εντούτοις, μία προσεχτικότερη ματιά στον εσωτερικό μηχανισμό καθενός εξ αυτών (βλ. συνοδευτικές φωτογραφίες) αποκαλύπτει έναν υδραυλικομηχανικοηλεκτρικό κυκεώνα απερίγραπτης πολυπλοκότητας (δεν είναι τυχαίο που πολλοί κατασκευαστές πλέον ακολουθούν την μέθοδο πονάει χέρι - κόψει χέρι σε ζημιές υδραυλικής κρεμαγιέρας, αλλάζοντας την κομπλέ με όλο της το μηχανισμό, χωρίς να αυτή να ανοίγεται για επισκευή με επιμέρους ανταλλακτικά). Τρία είναι τα βασικά μέρη ενός τυπικού υδραυλικού τιμονιού (υπάρχουν και μη τυπικά, λίγο υπομονή): η αντλία παροχής με το δοχείο συσσώρευσης υδραυλικών υγρών (τα γνωστά ειδικά «υγρά υδραυλικού», με βάση διάφορα ορυκτέλαια) του κυκλώματος, η περιστροφική βαλβίδα ελέγχου («διανομέας») στην άκρη της κολώνας του τιμονιού πριν και γύρω από το πινιόν του κανόνα και ο υδραυλικός κύλινδρος κατά μήκος και γύρω από το κανόνα της κρεμαγιέρας, ενώ ανάμεσα σε όλα αυτά παρεμβάλλονται φυσικά οι αντίστοιχες σωληνώσεις.
Το πρώτο, η αντλία, όπως και σε κάθε υδραυλικό κύκλωμα, είναι η καρδιά του συστήματος. Κατά κανόνα πρόκειται για «vane-type» αντλία με περιστρεφόμενα πτερύγια (πιο σπάνια συναντάμε και αντλίες περιστρεφόμενου γραναζιού τύπου “gerotor”, βλ. παλιότερο σχετικό Know How περί Λίπανσης), η οποία παίρνει κίνηση (αρά απομυζά ισχύ, κρατήστε το αυτό για αργότερα) κατευθείαν από τον κινητήρα και η οποία φέρει πακέτο μαζί της (υποχρεωτικά, βάσει νομοθεσίας) περιοριστική βαλβίδα επιτρεπόμενης παροχής, αλλά και ελέγχου πίεσης του υγρού του κυκλώματος, η οποία μπορεί, καθώς ανοίγει, να επιστρέφει υδραυλικό υγρό πίσω στο δοχείο που βρίσκεται «καπέλο» από πάνω της. Η ρύθμιση και εκτόνωση της τυχόν υπερβολικής πίεσης του κυκλώματος είναι απαραίτητη για λόγους ασφαλείας, αλλά και λειτουργικούς και λαμβάνει χώρα κυρίως σε δύο σενάρια: πρώτον στις υψηλές στροφές του κινητήρα, όπου ειδάλλως η παροχή και η πίεση θα ανέβαιναν στο Θεό, και δεύτερον στο τέρμα της διαδρομής του τιμονιού και του κανόνα της κρεμαγιέρας, όπου πλέον εκεί, στις ακραίες θέσεις, η τρόμπα απλά «σπρώχνει υγρό που βρίσκει τοίχο». Η διαστασιολόγηση της αντλίας (και των σωληνώσεων από και προς αυτήν) από την άλλη πρέπει να λαμβάνει υπόψιν την ανάγκη να είναι σε θέση η αντλία να ανεβάσει πίεση που να μπορεί να περιστρέψει το τιμόνι ακόμα και στο ρελαντί (με ρυθμό τουλάχιστον 1,5 στροφών/second) και επίσης να είναι τέτοια που και στην πιο ακραία καταπόνηση να μην ανεβάζουν υπερβολική θερμοκρασία (και αφρίζουν) τα υδραυλικά υγρά (δεν πρέπει να ξεπερνάνε τους 100ο C). Η όποια τώρα ποσότητα υγρού φύγει από την αντλία και γλιτώσει από την περιοριστική βαλβίδα, κατευθύνεται προς τον «τροχονόμο» του κυκλώματος, που δεν είναι άλλος από την περιστροφική βαλβίδα «διανομής» του υγρού προς την κρεμαγιέρα και η οποία βρίσκεται ομοαξονικά του άξονα του τιμονιού στο κάτω άκρο της κολώνας και πάνω στην είσοδο του πινιόν, εξωτερικά του κελύφους τις κρεμαγιέρας.
Από που παίρνει όμως σήμα η βαλβίδα αυτή ελέγχου, ώστε να ξέρει πότε και πόση πίεση πρέπει να περάσει στη κρεμαγιέρα? Προφανώς, όσο πιο δυνατά και γρήγορα (άρα με όσο περισσότερη ροπή) στρίβουν τα κουλά μας το τιμόνι, τόσο περισσότερη ποσότητα και πίεση υγρών πρέπει να αφήνει η περιστροφική βαλβίδα διανομής να περάσει στη κρεμαγιέρα, ώστε η επιθυμία μας για γρήγορο ή αργό στρίψιμο των τροχών να μεταφραστεί ανάλογα. Τον ρόλο του (μηχανικού) αισθητήρα ροπής προερχόμενης από το τιμόνι παίζει μία μικρή ράβδος στρέψης, ένα αξονάκι δηλαδή που, ανάλογα με το πόση ροπή ασκούμε στην πάνω άκρη του μέσω του τιμονιού, αναλόγως τόσο καταπονείται με στρέψη. Η μεταβολή αυτή της ράβδου στρέψης αντιστοιχεί σε περιστροφή της βαλβίδας διανομής, η οποία, μέσω κατάλληλα χαραγμένων λουκιών και οπών στην περιφέρεια της επιτρέπει ή ρίχνει πόρτα στο υγρό από την αντλία προς και από την κρεμαγιέρα: όσο πιο πολύ ροπή ανιχνεύσει ο μηχανισμός, τόσο μεγαλύτερες οπές βρίσκει το υγρό στο διάβα του και τόσο ευκολότερα μέσα από τα λούκια της βαλβίδας θα προχωρήσει προς την σωλήνωση της κρεμαγιέρας (και επομένως τόσο πιο μεγάλη ποσότητα θα πρέπει να επιστρέψει από την άλλη πλευρά του κυλίνδρου διπλής ενέργειας της κρεμαγιέρας που θα δούμε). Αντίστροφα, όταν η κρεμαγιέρα τείνει να περιστρέψει το τιμόνι προς την αντίθετη φορά (π.χ. κατά την επαναφορά του τιμονιού στις στροφές), η πίεση και η ροή αντιστρέφεται και πλέον ρόλος της περιστροφικής βαλβίδας διανομής είναι η κατανομή των υγρών σε αυτά που θα μας δώσουν «αντίδραση» στο τιμόνι και σε αυτά που θα περάσουν αναίμακτα προς το δοχείο υγρών της αντλίας.
Όλες αυτές οι πιθανές διαδρομές του υγρού, από και προς την κρεμαγιέρα και από και προς την αντλία, μέσα από την περιστροφική βαλβίδα ελέγχου του άξονα του πινιόν, ανάλογα με την ροπή που ασκείται, δημιουργούν ένα τρομερά πολύπλοκο λαβύρινθο στο κύκλωμα (ειδικά στα συστήματα που μπαίνει στο παιχνίδι και μεταβλητή υποβοήθηση, βάσει ταχύτητας οχήματος. βλ. παρακάτω) που ακόμα και το διάγραμμα ροής σε τομή να έχεις μπροστά σου, δυσκολεύεσαι να βρεις ποια διαδρομή ακολουθείται σε κάθε περίπτωση (ανάλογη υδραυλική πολυπλοκότητα μόνο στο εσωτερικό αυτόματου κιβωτίου μπορεί να βρει κάποιος σε ολόκληρο το αυτοκίνητο και πάλι παίζεται). Δείτε επικουρικά τις συνοδευτικές εικόνες, και ο Θεός μαζί σας.
Χοντρικά, οι κύριες διαδρομές του υγρού είναι αυτή για τις αριστερές στροφές, αυτή για τις δεξιές που είναι η αντίστροφη (και στις δύο αυτές διαδρομές στο κύκλωμα της ροής εμπλέκονται οι σωληνώσεις προς την κρεμαγιέρα) και τέλος η διαδρομή με το τιμόνι στην κεντρική θέση ισορροπίας χωρίς ασκούμενη πάνω του ροπή (εδώ δεν εμπλέκεται η σωλήνωση της κρεμαγιέρας σε ροή, και τα υγρά απλά περνάνε μέσα από τον λαβύρινθο βγαίνοντας από την άλλη ξανά προς το δοχείο, σε έναν συνεχή κύκλο που απλά κρατάει σε πίεση ετοιμότητας το κύκλωμα όσο ο κινητήρας είναι σε λειτουργία). Ο σχεδιασμός τώρα του λαβυρίνθου, των οπών και των λουκιών είναι αυτός που (όσον αφορά την συμβολή στο θέμα του συστήματος διεύθυνσης, δηλαδή για δεδομένο setup γεωμετρίας ανάρτησης), ουσιαστικά επηρεάζει (θεωρώντας ως δεδομένη παράμετρο το πόσο γρήγορο είναι το τιμόνι ως προς την σχέση μετάδοσης) αυτό που λέμε «φιλτράρισμα πληροφοριών και αίσθηση ανάδρασης» από το σύστημα διεύθυνσης προς το βολάν και τα χέρια μας. Πρόκειται για τέχνη που στα όρια της διερεύνησης της ξεφεύγει από τα καθαρά μηχανολογικά κριτήρια και τους αριθμητικούς σχεδιασμούς και περνάει στη σφαίρα του «μεταφυσικού» και της «διαίσθησης».
Ας δούμε και το τρίτο κατά σειρά βασικό εξάρτημα της διάταξης και το οποίο ήδη πεταχτά αναφέραμε πιο πάνω, τον υδραυλικό κύλινδρο της κρεμαγιέρας. Αυτός είναι ομόκεντρος με τον άξονα του κανόνα, τον περιβάλει (βρίσκεται δηλαδή ανάμεσα στον κανόνα και το κέλυφος της όλης διάταξης) και το κούφιο αυτό «χιτώνιο» που περιγράφουμε, χωρίζεται κάπου στη μέση του με δακτύλιο, ώστε τελικά να δημιουργούνται δύο υπο-χιτώνια γεμάτα με υδραυλικό υγρό (ο λεγόμενος υδραυλικός κύλινδρος «διπλής ενέργειας»): στις αριστερές στροφές το ένα μισό τροφοδοτείται με υπό πίεση υγρό από την βαλβίδα διανομής και αυξάνει τον όγκο του καθώς μετακινείται ο κανόνας και το άλλο μισό αναρροφάται από πίεση / υγρό και μειώνεται ο όγκος του, με τους ρόλους των δύο μισών να αντιστρέφονται στις δεξιές στροφές. Χρησιμοποιώντας λοιπόν υδραυλικό κύλινδρο διπλής ενέργειας έχουμε πιο άμεση ανταπόκριση και φυσικά μεγαλύτερη δυνατότητα μεταφοράς ισχύος. Τεράστια σημασία στο κύλινδρο της κρεμαγιέρας έχει αφενός η στεγανότητα του κυκλώματος (αν αυτή πάει περίπατο έχουμε το «δάκρυσμα» των υγρών της κρεμαγιέρας από τις φούσκες και τις στεγανοποιητικές τσιμούχες που θα σας πει ο μηχανικός, ανασηκώνοντας το αυτοκίνητο στο σέρβις και τρίβοντας τα χέρια του, γιατί ξέρει ότι μιλάμε για ένα από τα πιο ακριβά υποσυστήματα του εμπρός άξονα) και αφετέρου ο περιορισμός των εσωτερικών τριβών, μέσω στενών ανοχών μεταξύ του εμβόλου και των στεγανοποιητικών του. Φυσικά η μηχανική σύνδεση κολώνας-πινιόν-κανόνα κρεμαγιέρας σε κάθε περίπτωση παραμένει, αφού το σύστημα διεύθυνσης θα πρέπει να μπορεί να λειτουργεί ακόμα και με πλήρη απώλεια υδραυλικών υγρών (με το ανάλογο κόστος σε «μόχθο» με το τιμόνι, βεβαίως βεβαίως).
CitroenDIRAVI και ZF / BoschServotronic: το κοντέρ μπαίνει στο παιχνίδι
Παραλλαγές της βασικής αυτής διάταξης υδραυλικής κρεμαγιέρας (ναι, όλο αυτό ήταν όντως η βασική και πιο απλή παραδοσιακή διάταξη) υπάρχουν, με πιο ενδιαφέρουσες τις εξής δύο: το σύστημα διεύθυνσης DIRAVI της Citroen και τις υδραυλικές κρεμαγιέρες με ηλεκτρονικό έλεγχο της περιστροφικής βαλβίδας διανομής από κύκλωμα με actuator και εγκεφαλάκι που παίρνει σήμα από την κεντρική ECU και τους αισθητήρες της. Το πρώτο είναι καθαρά «old school», μηχανικό, με εντελώς εναλλακτική διάταξη εξαρτημάτων (κλασικοί Γάλλοι...) και το δεύτερο, με πιο χαρακτηριστικό το Servotronic της Bosch / ZF που συναντάμε κυρίως σε premium ευρωπαϊκά αυτοκίνητα, στηρίζεται σε «ηλεκτρονικό έλεγχο» της ίδιας βασικής διάταξης που περιγράψαμε. Και τα δύο ειδικά συστήματα ωστόσο, έχουν ένα κοινό σκοπό: να ρυθμίζουν το ποσοστό υποβοήθησης βάσει της ταχύτητας του οχήματος. Το «ιδανικό» σενάριο για έναν τυπικό οδηγό σε ένα σύστημα διεύθυνσης είναι να έχουμε υψηλή υποβοήθηση σε στατικούς και χαμηλής ταχύτητας ελιγμούς, όπου η στροφή του τιμονιού είναι μεγάλη σε συνολική γωνία περιστροφής, και μικρή (να βαραίνει δηλαδή σταδιακά, καθώς αυξάνεται η ταχύτητα κίνησης του οχήματος) στις μεγάλες ταχύτητες, όπου και η παραμικρή «κατά λάθος» μοίρα περιστροφής μπορεί να αποβεί μοιραία (η σωτήρια, αναλόγως...). Η Citroen με το DIRAVI για πολλοστή φορά πρωτοπόρησε και το κατάφερε αυτό από την δεκαετία του ’70, αρχής γενομένης με την SM (και το πέρασε σε παραλλαγές στη συνέχεια και στις CX / XM), ενσωματώνοντας το υδραυλικό κύκλωμα του τιμονιού με αυτό της υδροπνευματικής ανάρτησης και των φρένων μέσω μιας πολύπλοκης διάταξης με έκκεντρο, βαλβίδες και αντλία υψηλής πίεσης μοιραζόμενη με τα άλλα δύο υποσυστήματα. Υπό κανονικές συνθήκες (χωρίς απώλειες υδραυλικού, σε περίπτωση διαρροής το σύστημα είχε βαρβάτη μηχανική δικλείδα ασφαλείας) η κολώνα δεν συνδεόταν καν με το πινιόν της κρεμαγιέρας (μιλάμε δηλαδή πλέον για φουλ υδραυλικό τιμόνι και όχι «υδραυλικής υποβοήθησης») και η λειτουργία του είχε τη φήμη του «μεταξένιου» τιμονιού: το τιμόνι ήταν ακριβές, ελάχιστη προσπάθεια απαιτούνταν για την περιστροφή του τιμονιού και οι κραδασμοί από τους τροχούς, π.χ. σε λακκούβες, δεν μεταδίδονταν καθόλου στο βολάν. Αυτά βέβαια, που για τον μέσο οδηγό είναι πλεονεκτήματα, πολλοί πιο «ένθερμοι» τα είδαν ως μειονεκτήματα, κατηγορώντας το DIRAVI για αποστειρωμένη αίσθηση και παντελή έλλειψη ανάδρασης, αφού όντως η όποια αντίσταση στο τιμόνι δημιουργούνταν τεχνητά από το σύστημα.
Το πιο σύγχρονο και συμβατικό Servotronic τώρα, την ρύθμιση βάση ταχύτητας οχήματος την επιτυγχάνει απλούστερα: ένα εγκεφαλάκι παίρνει σήμα από τους αισθητήρες ταχύτητας του οχήματος και βάσει των ανάλογων «χαρτών» (που ρυθμίζονται ανάλογα με την φύση του μοντέλου, ως προς την συνάρτηση ταχύτητας-υποβοήθησης) μεταβιβάζει τις εντολές του σε μεταλλάκτη που βρίσκεται τοποθετημένος ακριβώς πάνω στην περιστροφική βαλβίδα ελέγχου διανομής του υγρού. Με άλλα λόγια, το Servotronic μέσω ενός «ηλεκτρονικού τσιμπουριού» στο κάτω άκρο της κολώνας του τιμονιού πάει τον πολύπλοκο λαβύρινθο που περιγράψαμε πιο πάνω ένα βήμα παραπέρα, ως προς την ρύθμιση του βαθμού της υποβοήθησης, ρυθμίζοντας περαιτέρω την ροή από τις οπές και τα λούκια της περιστρεφόμενης βαλβίδας μέσω σήματος εισόδου / ανάδρασης από την ταχύτητα κίνησης. Γερμανοί...
Ηλεκτροϋδραυλικά: η «υβριδική» υποβοήθηση
Επόμενη, χρονικά και τεχνολογικά, παραλλαγή των κλασικών υδραυλικών συστημάτων υποβοήθησης ήταν τα λεγόμενα «ηλεκτροϋδραυλικά» συστήματα. Όπως φανερώνει το όνομα τους, πρόκειται για ένα πάντρεμα υδραυλικής διάταξης με ηλεκτρική αρωγή. Η διαφορά εντοπίζεται στην πηγή της ενέργειας του συστήματος και πιο συγκεκριμένα στην αντλία, η οποία εδώ δεν είναι μηχανική, τροφοδοτούμενη με ιμάντα από τον κινητήρα όπως προαναφέραμε, αλλά ηλεκτρική, τροφοδοτούμενη από το κεντρικό ηλεκτρικό κύκλωμα του αυτοκινήτου. Όλη η υπόλοιπη διάταξη, πέραν της αντλίας, ακολουθεί την «περπατημένη» των απλών υδραυλικών τιμονιών. Ηλεκτρικό μοτέρ για το σύστημα υδραυλικής υποβοήθησης άρχισε δειλά δειλά να δοκιμάζει η Ford στην δεκαετία του ’60, αλλά το πρώτο μοντέλο ευρείας παραγωγής με τέτοιο σύστημα ήταν το Toyota MR2 το 1990 (το δεύτερης γενιάς δηλαδή).
Η απόφαση για χρήση ηλεκτροϋδραυλικού συστήματος στο συγκεκριμένο αυτοκίνητο από τους Ιάπωνες δεν ήταν τυχαία: όντας κεντρομήχανο και επιθυμώντας να απαλαγούν από σωληνώσεις υψηλής πίεσης που θα διέτρεχαν ολόκληρο το αμάξωμα, από πίσω στο μοτέρ έως τον εμπρός άξονα και τούμπαλιν, έψαχναν ένα τρόπο να ανεξαρτητοποιήσουν την υποβοήθηση από το κινητήριο σύνολο. Η συνταγή πέτυχε και έτσι, λίγο αργότερα στα μέσα της ίδιας δεκαετίας, το υιοθέτησε και η VW σε κάποιες εκδόσεις του Golf Mk3, ενώ σήμερα η χρήση ηλεκτροϋδραυλικών υποβοηθήσεων έχει εξαπλωθεί ακόμα παραπέρα, σε μεγάλο κομμάτι της γκάμας μοντέλων πολλών μεγάλων κατασκευαστών, τόσο εξ Ανατολάς, όσο και Ευρωπαίους. Τα εν λόγω συστήματα ονομάζονται και «υβριδικά», αφού ουσιαστικά αποτελούν το ενδιάμεσο στάδιο ανάμεσα στα παραδοσιακά υδραυλικά τιμόνια και την νέα μεγάλη τάση στην αυτοκινητοβιομηχανία, που δεν είναι άλλη από τα αμιγώς ηλεκτρικά συστήματα υποβοήθησης ή ακόμα πιο γνωστά ως «ηλεκτρικά τιμόνια» τα οποία και θα δούμε στη συνέχεια.
Τέρμα στα υγρά: φουλ ηλεκτρική υποβοήθηση
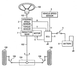
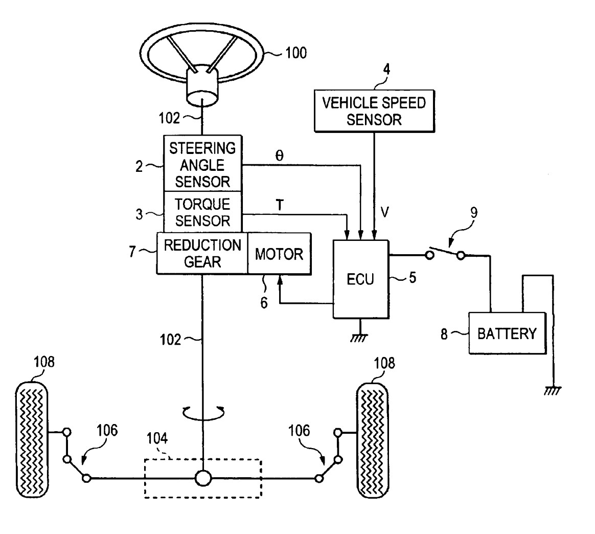
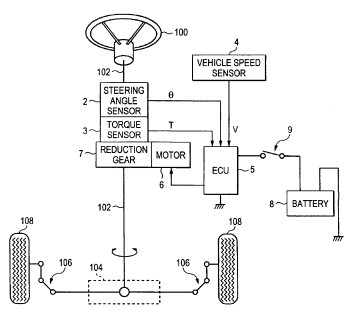
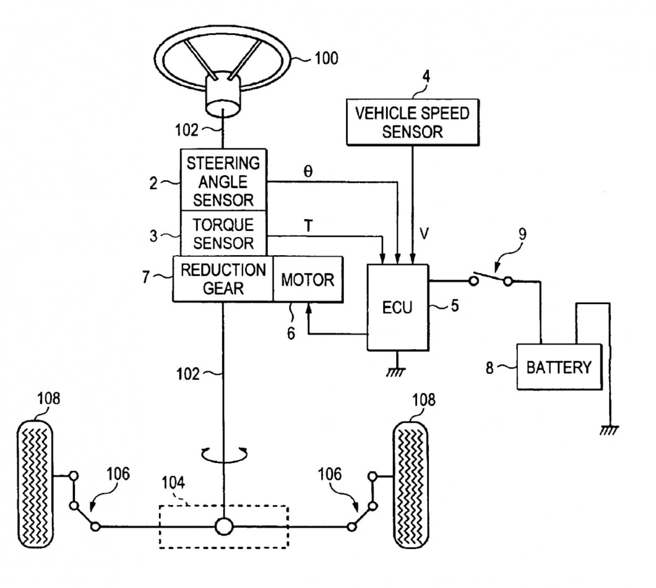
Αφού οι κατασκευαστές έκαναν το βήμα αντικατάστασης της μηχανικής αντλίας με ηλεκτρική στα ηλεκτροϋδραυλικά συστήματα, σκέφτηκαν στη συνέχεια «γιατί να μην ξεμπερδεύουμε μία και καλή με τις πολύπλοκες και ακριβές υδραυλικές σωληνώσεις, κυλίνδρους, βαλβίδες και δοχεία πετώντας τα όλα μακριά και τοποθετώντας απλά ένα μεγάλο ηλεκτρικό μοτόρι κατ’ ευθείαν στην κίνηση του άξονα διεύθυνσης και να πάρει αυτό πάνω του όλη τη δουλειά της υποβοήθησης?». Η αλήθεια είναι ότι καιρό το θέλανε, αλλά έπρεπε να περιμένουν την εξέλιξη της ηλεκτρονικής για να το καταφέρουν, και το κατάφεραν. Τα συστήματα EPS (Electric Power Steering) είναι η μόδα που δείχνει να καθιερώνεται και να είστε σίγουροι πως ήρθε για να μείνει: ακόμα και στα σπορ μοντέλα διαδίδεται ταχεώς, με π.χ. την Honda να το χρησιμοποιεί στο S2000 από το 1999 και την Porsche να το σκέφτεται από το 2006, όπου τελικά όντως επέλεξε στην τελευταία 911 (991, συμπεριλαμβανομένης και της αγωνιάρικης GT3) να χρησιμοποιήσει αμιγώς ηλεκτρική υποβοήθηση και όχι υδραυλική. Τη στιγμή που μιλάμε, το 25% περίπου των αυτοκινήτων παραγωγής εξοπλίζονται με EPS, ενώ οι προβλέψεις κάνουν λόγο για το ποσοστό αυτό να ανεβαίνει στο 50% μέχρι το 2020.
Η διάταξη ενός EPS είναι απλή: ένας αισθητήρας ροπής και θέσης της κολώνας τιμονιού δίνει σήμα στον εγκέφαλο του συστήματος διεύθυνσης («EPS ECU»), ο οποίος στη συνέχεια αποφασίζει, βάσει της εκάστοτε χαρτογράφησης, για την παροχή υποβοήθησης από το ηλεκτρικό μοτέρ κατ’ ευθείαν στη διάταξη του τιμονιού, μέσω ατέρμονα. Για τη θέση του ηλεκτρικού μοτέρ υπάρχουν δύο σχολές-προσεγγίσεις από τους κατασκευαστές: αυτό, είτε τοποθετείται ψηλά - πάνω στην κολώνα του τιμονιού, είτε χαμηλότερα - πάνω στην κρεμαγιέρα. Δύο είναι οι βασικοί λόγοι που οι κατασκευαστές λατρεύουν τα EPS: πρώτον, εξαιτίας του γεγονότος πως, σε αντίθεση με τα υδραυλικά συστήματα υποβοήθησης, που η αντλία είναι συνεχώς σε λειτουργία για να παρέχει σταθερά πίεση στο κύκλωμα, τρώγοντας έτσι συνεχώς ισχύ από το στρόφαλο, στα EPS το ηλεκτρικό μοτέρ τραβάει ενέργεια μόνο όταν απαιτείται (στρίβουμε το τιμόνι), κάτι που μειώνει τις εκπομπές CO2 κατά μέσο όρο 5-6g/km. Όταν τα εργοστάσια πια κάνουν «κρα» για απειροελάχιστη εξοικονόμηση ρύπων / κατανάλωσης, πιστέψε με, τα 5-6g/km που γλιτώνουν με το EPS ακούγονται πολύ εύκολη και γλυκιά λύση.
Ο δεύτερος λόγος είναι η δυνατότητα που δίνουν αυτά τα συστήματα ως προς τον συνεχή έλεγχο της παρεχόμενης υποβοήθησης, ανάλογα με τις συνθήκες οδήγησης και βάσει ποικίλων παραμέτρων, είτε αυτόματα απο την μονάδα ελέγχου, είτε κατ’ επιλογήν του οδηγού (τα διάφορα προγράμματα «sport», “city”, “comfort” κτλ. των μοντέλων με EPS, που με ένα κουμπί από την καμπίνα μεταβάλλεται το «πρόγραμμα» της υποβοήθησης). Αυτό είναι δυνατόν, επειδή η EPS ECU γνωρίζει ανά πάσα στιγμή από την κεντρική ECU / CAN BUS την τιμή παραμέτρων όπως το yaw, η ταχύτητα, στοιχεία από την ανάρτηση, πλευρικές και γραμμικές επιταχύνσεις κτλ. Σε συνδυασμό με το ESP μάλιστα, το EPS μπορεί να παίξει με την υποβοήθηση προς την κατεύθυνση της διευκόλυνσης του οδηγού στους χειρισμούς διόρθωσης του οχήματος, ασκώντας την αντίστοιχη ροπή. Ξέρω τι σκέφτεστε, ότι είμαστε ένα βήμα πριν την «ολική παράδοση των κλειδιών του χειρισμού του οχήματος στα ηλεκτρονικά», κι εγώ αυτό σκέφτομαι, αλλά... καλώς ή κακώς, τα EPS θα τα τρώμε στη μάπα όλο και περισσότερο.
Το μεγαλύτερο κράξιμο και η περισσότερη κουβέντα για τα EPS έχει σίγουρα πέσει σε ότι αφορά την μειωμένη πληροφόρηση και αίσθηση στο τιμόνι που προσφέρουν συγκριτικά με ένα υδραυλικό τιμόνι. Και όχι άδικα, αφού πράγματι πολλά συστήματα του είδους στην καλύτερη περίπτωση προσφέρουν μία εντελώς ψεύτικη και τεχνητή ψευδαίσθηση ανάδρασης και στη χειρότερη είναι σαν να στρίβεις ένα βολάν που συνδέεται με το... κενό. Μία από τις αιτίες είναι το γεγονός πως, στα μεν υδραυλικά ο αισθητήρας ροπής (ράβδος στρέψης) οδηγεί κατ’ ευθείαν την (επίσης καθαρά «ρευστομηχανική») βαλβίδα ελέγχου, ενώ στα EPS η ροπή μεταφράζεται απλά ως ένα ηλεκτρικό σήμα προς την EPS ECU. Μία δεύτερη βασική αιτία είναι η σχετικά μεγάλη αδράνεια (ροπή αδρανείας) του ηλεκτρικού μοτέρ: σε σχέση με το υπό πίεση υδραυλικό κύκλωμα, υπάρχει ένα «lag» μεταξύ της στιγμής που θα λάβει την εντολή για υποβοήθηση και της πραγματικής περιστροφής του ατέρμονα του προς την κολώνα ή κρεμαγιέρα. Για να ρεφάρει το ηλεκτρικό μοτέρ το αρχικό αυτό lag είναι αναγκασμένο να δώσει περισσότερη υποβοήθηση μαζεμένη (μη γραμμικά), κάτι που επιδεινώνει την αίσθηση αφύσικης ανάδρασης προς τον οδηγό. Όλα αυτά οι κατασκευαστές, και ειδικά οι σπορ κατασκευαστές, τα γνωρίζουν καλά και γι’ αυτό προσπαθούν να tune-άρουν τα νέα τους EPS όσο πιο «ρεαλιστικά» μπορούν: ιδιαίτερη βαρύτητα δίνουν στην οδήγηση του ηλεκτρικού μοτέρ από το σύστημα, έτσι ώστε να περιορίζεται η νωθρότητα γύρω από την κεντρική θέση του τιμονιού (το πιο δύσκολο κομμάτι στο στήσιμο της αίσθησης του) αλλά και στο φιλτράρισμα των συχνότητων από τους τροχούς / οδόστρωμα που πρέπει ή δεν πρέπει να φτάνουν ως ανάδραση στο τιμόνι.
Έρχονται οι «αιρετικοί»
Μέχρι εδώ φτάνει η τεχνολογία των συστημάτων διεύθυνσης? Όχι βέβαια, και γι’ αυτό τον επόμενο μήνα θα μπούμε σε ακόμα πιο βαρβάτα χωράφια: σε κατασκευαστές που αμφισβήτησαν με «εναλλακτικές» τεχνολογίες τα καθιερωμένα και θέλησαν να τελειοποιήσουν το τιμόνι, να προσφέρουν οχήματα που το στρίψιμο τους περνάει σε άλλα επίπεδα: συστήματα μεταβλητής σχέσης μετάδοσης (και όχι απλά βαθμού υποβοήθησης, όπως τα παραπάνω) όπως το Active Steering, διατάξεις παθητικής και ενεργητικής τετραδιεύθυνσης και τα «σατανικά» steer-by-wire θα μπουν στο στόχαστρο μας. Κερασάκι στην τούρτα, μία επι του πρακτέου ρύθμιση ευθυγράμμισης, για τα μάτια σας μόνο.
Αρθρογράφος
Δοκιμές Αυτοκινήτου CarTest.gr
Το Ford Bronco φτάνει στην Ευρώπη την επόμενη Άνοιξη με τετρακύλινδρους και εξακύλινδρους κινητήρες, βενζίνης αλλά όχι diesel.












